LCD Panel Home / Application / LCD Panel  
  Automotive
  Electric Vehicle
  Charger / Adapter
  LED Lighting
  Car Audio
  LCD Panel
  Digital Camera / Digital Video Camera
  Mobile Phone
  PC
 
 

LCD Panel

 
 
  Application Circuit_ Backlight Control
Application Circuit_ Backlight Control
 
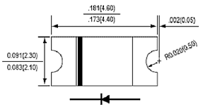
  Schottky Barrier Diode
Recommended Application _ Back Light Inverter or LED Back Light
  SCD5818H ( 30V/1A )
  1.Low Profile
  2.Halogen-Free
  3.Low Forward Voltage
Schottky Barrier Diode
Schottky Barrier Diode Schottky Barrier Diode
 
  Application Circuit_ Interface Regulator Circuit
Application Circuit_ Interface Regulator Circuit
 
  Zener Diode
Recommended Application _ USB Interface
  MM1Z5240BH ( Vz= 9.5 – 10.5 )
  1.Low Profile.
  2.Applicable to the protection of ultra-speed data transmission line
  3.Sharp Reverse Characteristics
  4.High Stability
Zener Diode
Zener Diode Zener Diode
 
 
   
Home | About Us | News & Events | Products | Support | Application | Quality | Contact Us
Copyright ©2009 ZOWIE Technology Corporation . All rights reserved. | Design by CSIDEA